CD267 SERIES

 ALUMINUM ELECTROLYTIC CAPACITORS

   ● Load life of 2000 hours at 105℃

    ● Body diameter from Φ10mm to Φ18mm

       with high ripple current

     ● Expanded rated voltage range   

     ● For switching adapter

 

  • SPECIFICATIONS

Item Characteristics
Operating Temperature Range(oC) -55~+1056.3~100V, -40~+105160~450V
Rated Voltage Range (V) 6.3~450
Nominal capacitance range (uF) 56~33000
Capacitance Tolerance(20oC,120Hz) +/-20%
Leakage current (uA)

6.3~160V: I0.01CV or 3 whichever is greater

 

200~450V:  I0.01CV 

 

 (at 20oC,after 2 minutes ) C: Nominal capacitance (uF) V: Rated voltage (V)
Dissipation Factor(20oC,120Hz)
V (V) 6.3 10 16 25 35 50 63 100 160~200 400 420 450
D.F. 0.26 0.24 0.2 0.16 0.14 0.12 0.1 0.08 0.12 0.15 0.2 0.20

when nominal capacitance is over 1000uF, D.F. shall be added 0.02 to the listed 
value with increase of every 1000 uF

Temperature Stability(120Hz)
Rated voltage (v) 6.3 10 16 25 35~100 160~200 400 420~450
Impedance

Ratio

Z-25℃/Z+20℃ 5 4 3 2 3 6 8
Z-40℃/Z+20℃ 10 8 6 4 3 4 10 15
Load Life(+105oC)
Time 2000 hours
Leakage Current Not more than the specified value.
Capacitance Change Within +/-20% of the initial value.
Dissipation Factor Not more than 200% of the specified value.
Shelf Life(+105oC)

After leaving capacitors under no load for 500hours, they meet the specified value for load life characteristics listed above.

          After test: Rated voltage to be applied for 30minutes, 24 to 48 hours before measurement.

                   

 
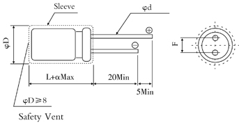
  • DIMENSIONS      MM             
  • MULTIPLIER FOR RIPPLE CURRENT
 

Lead spacing and diameter

D+/-0.5

5

6.3

8

10

12.5

16

18

20

22

25

F+/-0.5

2

2.5

3.5

5.0

7.5

10

12.5

d+/-0.1

0.5

0.6

0.8

1.0

a

1.0

 

 

 

1.5(L<20); 2.0(L≥20)

 

Frequency Coefficient

Rated

voltage (V)

Freq(Hz)

50

120

300

1k

10K

Cap (μF)

6.3~100

470

0.75

1.00

1.35

1.57

2.00

1000~33000 0.85 1.00 1.10

1.13

1.15

160~450

220

0.80

1.00

1.25

1.40

1.60

330~1000

0.90

1.00

1.10 1.13 1.15

Temperature Coefficient

Temp.( )

+70

+85

+105

Rated voltage

6.3~100

2.0

1.7

1.0

160~450

1.8

1.4 1.0

  • STANDARD RATINGS

WV(V)

6.3

10

16

25

Cap(μF)

Size

Ripple

Size

Ripple

Size

Ripple

Size

Ripple

ΦDxL(mm)

(mA)

ΦDxL(mm)

(mA)

ΦDxL(mm)

(mA)

ΦDxL(mm)

(mA)

3300

-

-

-

-

 

-

16x25

1400

4700

-

-

-

-

16x25

1480

16x31.5

1710

6800

-

-

16x25

1570

16x35.5

1780

18x35.5

2040

10000

16x25

1650

16x35.5

1890

18x35.5

2060

20x40

2150

15000

16x35.5

2010

18x35.5

2180

20x40

2430

22x50

2750

22000

18x40

2350

20x40

2650

22x50

3000

25x50

3250

33000

22x50

2800

22x50

3250

25x50

3450

-

-

 

WV(V)

35

50

63

100

160

Cap(μF)

Size

Ripple

Size

Ripple

Size

Ripple

Size

Ripple

Size

Ripple

ΦDxL(mm)

(mA)

ΦDxL(mm)

(mA)

ΦDxL(mm)

(mA)

ΦDxL(mm)

(mA)

ΦDxL(mm)

(mA)

220

-

-

-

-

-

-

-

-

16x35.5 570

330

-

-

-

-

-

-

-

-

18x40 750

470

-

-

-

-

-

-

16x25

715

22x40 900

1000

-

-

- - 16x25

930

18x40 985 25x50 1310

2200

16x25

1260

16x35.5

1470

18x35.5

1650 22x50 1750 - -

3300

16x35.5

1610

18x35.5

1770

20x40 1950 25x50 2070 - -

4700

18x35.5

1910

20x40

2100

22x50 2450 - - - -

6800

20x40

2150

22x50

2500

25x50

2800

-

-

-

-

10000

22x50

2650

25x50

2850

-

-

-

-

-

-

15000

25x50

3100

-

-

-

-

-

-

-

-

 

WV(V)

200

400

420 450

Cap(μF)

Size

Ripple

Size

Ripple

Size

Ripple

Size

Ripple

Size

Ripple

Size

Ripple

Size

Ripple

Size

Ripple

ΦDxL

Φ16(mm)

(mA)

ΦDxL

Φ18(mm)

(mA)

ΦDxL

Φ16(mm)

(mA)

ΦDxL

Φ18(mm)

(mA)

ΦDxL

Φ16(mm)

(mA)

ΦDxL

Φ18(mm)

(mA)

ΦDxL

Φ16(mm)

(mA)

ΦDxL

Φ18(mm)

(mA)

56

-

-

-

-

-

-

-

-

- - - -

16x31.5

440 - -

68

-

-

-

-

-

-

-

-

16x31.5 510 - - 16x35.5 490 - -

82

-

-

-

-

-

-

-

-

16x35.5 570 - - 18x31.5 550 18x35.5 600

100

-

-

- -

16x31.5

580

-

-

16x40 610 18x31.5 610 18x35.5 660 18x40 720

120

- - - - 16x35.5 670 18x31.5 670 - - 18x35.5 660 - - 18x40 740

150

- - - - 16x40 770 18x35.5 770 - - 18x40 710 - - 18x45 800

180

- - - - - - 18x40 880 - - - - - - - -

220

- - - - - -

18x45

1000

-

-

- - - - - -

270

16x31.5

870 - -

-

-

-

-

-

-

- - - - - -

330

16x35.5 1010 18x31.5 1010

-

-

-

-

-

-

- - - - - -

390

16x40

1130

18x35.5

1130

-

-

-

-

-

-

-

-

-

-

-

-

470

-

-

18x40

1270

-

-

-

-

-

-

-

-

-

-

-

-

560

-

-

18x45

1390

-

-

-

-

-

-

-

-

-

-

-

-

     Ripple Current: 105 oC ,120Hz

   The specific capacitance and case size are available on request.

 

    

   

 
 
 
How to order   - part numbering system