CDS SERIES

   ALUMINUM ELECTROLYTIC CAPACITORS  

    

 
  • Load life of 1000 hours at 85oC

  • Bi-polarized, High frequency, Small loss

  • Used for S correction of horizontal deflection circuits.

  • High and stable quality.

  • SPECIFICATIONS
Item Characteristics
Operating Temperature Range(oC) -40~+85
Rated voltage Range (V) 25~100
Nominal capacitance range (uF) 1~15
Capacitance Tolerance(20oC,120Hz) +/-20%
Leakage current (uA) I<=100(at 20oC,after 2 minutes)
Dissipation Factor(20oC,120Hz)

D.F.<=0.05

Load Life(+85oC)
Time 1000 hours with the polarity inverted every 250hours
Leakage Current Not more than the specified value.
Capacitance Change Within +/-15% of the initial value. 
Dissipation Factor Not more than 200% of the specified value.
Shelf Life(+85oC)
Time 500 hours
Leakage Current Not more than the specified value.
Capacitance Change Within +/-15% of the initial value. 
Dissipation Factor Not more than 200% of the specified value.

After test: Rated voltage to be applied for 30 minutes, 24 to 48 hours before measurement.

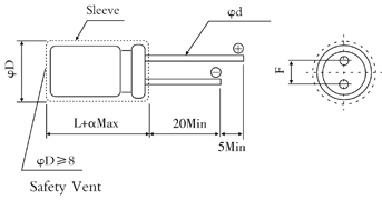
  • DIMENSIONS                                                                                         mm  

D+/-1.0

10

12.5

16

F+/-0.5

5

5

7.5

d+/-0.1

0.6

0.6

0.8

a

0~+2.0

 

  • STANDARD RATINGS

WV 25 50 100
Size Size Size

Cap(uF)

 
DxL(mm) DxL(mm) DxL(mm)
1

10x20

10X20  
2.2 12.5x20 12.5X25  
3.3 12.5x25 12.5X25 10X20
4.7 12.5x25

12.5X25   16X25

12.5X25
6.8 16x25 16X31.5  
10 16x25 16X31.5 16X25
15     16X31.5

      

     The specific capacitance and case size are available on request.

   How to order   -  part numbering system